南航挂牌转让10架787-8
发表日期:2025-04-07
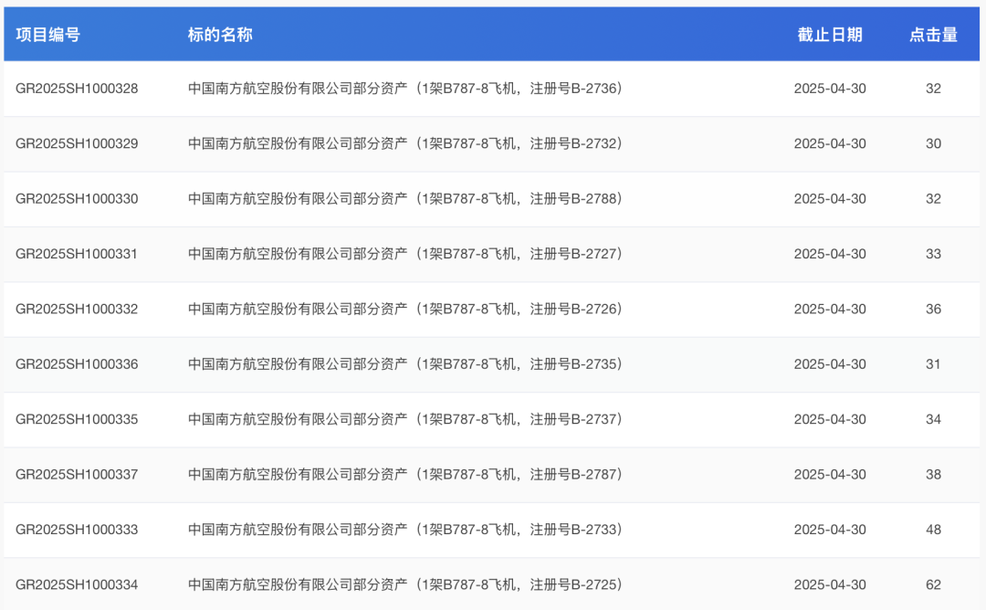
4月3日,南航10架787-8飞机及2台GENX-1B70发动机在上海联合产权交易所挂牌,每架飞机转让底价约3.6-3.8亿元,每台发动机底价约1.5亿元。
根据公告内容,若形成竞价,则本批项目竞价起始价为以上12宗项目各自挂牌价格的总和,即人民币396415万元。成交价格溢价部分按照各自项目挂牌价格占本批项目挂牌价格总和的比例进行分配,以此确定单个项目的成交价格。此外,本项目不安排飞机实物检查。交付地点为广州或双方商定的其他地点。
去年11月,南航曾发布公告,南航考虑向一家符合条件的买方出售10架自有的波音787-8型飞机和2台GEnx-1B70/P2型备用发动机。




上一篇: 民政部:这些机场更名!
下一篇: 飞机冲出跑道 半截机身淹入水中
热门文章排行
更多>>
- 我国将构筑五大机场群 昆明...
- 航空公司8日起再次上调国内...
- 巧妙应对各层面试官
- 获取高薪职位的几个窍门
- 工作当中常遇到的劳动法律问...
- 王正华学习家祥局长讲话有感...
- 民航十二五规划增速放缓 拟...
- 进军海外市场 春秋谋划赴日...
- 东航国内首家成功完成纽约航...
- 第四届上海航展开幕 30余架...
- 乌鲁木齐机场T2本周启用 5分...
- 祥鹏航空启动圆梦之旅 三地...
- 国货航成都至浦东货机航班将...
- 空域资源稀缺 30家外航在北...
- 南航空乘招募武汉复试第三天...
- 东航、空管和机场三方交流合...
- 电视台实习记者采访招空姐 ...
- 台湾远东航空正式复航 空姐...
- 海航集团董事长陈峰谈民航受...
- 波音、空客飞机部分零部件有...





